Chantier terrasse
Bonjour,
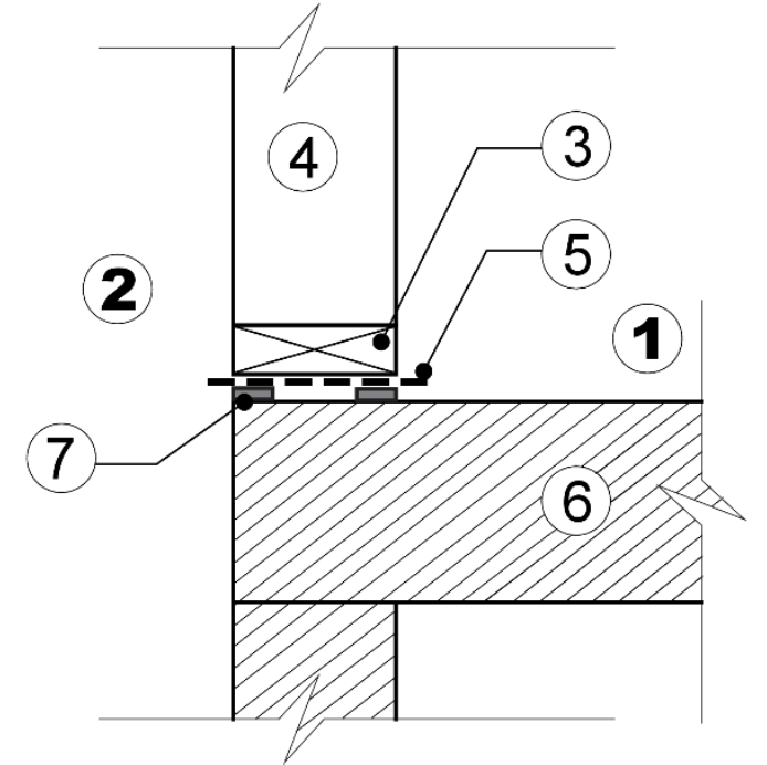
J’ai récemment emménagé dans ma MOB et ma terrasse va être coulée prochainement mais il reste un détail auquel je n’ai pas trouvé de réponse et qui je pense est primordial.
Je pense qu’il faut laisser un espace entre la terrasse et la maison afin la lisse basse puisse respirer mais je n’ai aucune idée de quel distance je dois laisser.
Faut-il également que la terrasse s’arrête au même niveau que le soubassement en terme de hauteur même si elle est décalée en distance ou elle peut être au dessus ?
Ce n’est pas très simple à expliquer, je mets quelques photos et un croquis si quelqu’un a une réponse je serait vraiment soulagé.
En vous remerciant par avance.
Damien




Votre message :
Vous devez vous connnecter pour poster un commentaire.
S'identifier ou créer un compte